16 diciembre, 2018

La llegada de los teléfonos plegables o «flexibles» está cada día más cerca. Además del teléfono plegable de Samsung presentado hace unas semanas en la Samsung Developer Conference, fabricantes como Huawei o LG están preparando sus respectivos modelos con diseños similares para ser presentados durante el próximo año 2019. Precisamente de esta última se acaban de filtrar dos nuevas patentes que nos dejan ver el posible diseño de su smartphone plegable.
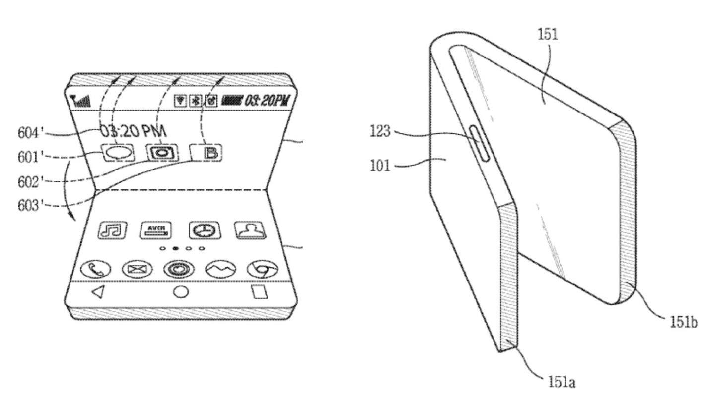
El supuesto smartphone de LG contaría, en esencia, con un diseño bastante diferente al del Samsung Galaxy Flex o Fold al contar con un mecanismo de «pliegue» vertical. El terminal de Samsung, por contra, cuenta con un pliegue similar pero en disposición horizontal.
Huawei P30 Pro: la filtración de unas nuevas fundas muestra su diseño
Ha sido hace escasos minutos cuando se ha filtrado a través de Android Headlines dos nuevas patentes registradas por LG en el día de hoy. Las patentes en cuestión muestran el diseño de un dispositivo que lejos de contar con un diseño tradicional, está basado en una pantalla plegable.

El terminal, como se puede ver en las imágenes, se basaría en un mecanismo que nos permitiría plegar el dispositivo en forma vertical. A diferencia del Galaxy Fold, el móvil flexible de LG no nos permitiría hacer uso del mismo como tablet. Al fin y al cabo, el citado mecanismo estaría diseñado única y exclusivamente para reducir el tamaño del smartphone en su conjunto, haciendo que su diagonal no sea más grande que la de una simple cartera. Debemos de tener en cuenta que se trata de una patente, por lo que es probable que el diseño final del teléfono sea bastante diferente al que podemos ver en las capturas, si es que finalmente acaba siendo presentado.

En cuanto al resto de características del terminal, poco o nada es lo que se ha filtrado hasta la fecha. Teniendo en cuenta que se trata de un dispositivo de gama alta, es de esperar que cuente con lo último de lo último. Procesador Snapdragon 855, 6 u 8 GB de memoria RAM y 256 o 512 GB de almacenamiento interno. El precio, de forma similar al móvil de Samsung, es de esperar que supere con creces la barrera de los 1.500 euros en Europa. Sea como sea, lo único que podemos hacer es esperar al Mobile World Congress de Barcelona para ver si la compañía adelanta detalles de posiblemente uno de los teléfonos más esperados de 2019.
Los mejores móviles que nos esperan en 2019: OnePlus, Samsung, Sony, Huawei…
Deja una respuesta